Напольное покрытие
Пол в гараже несет огромную нагрузку. Кроме самого автомобиля он должен выдерживать тяжеловесное оборудование. При этом в процессе ремонтных работ пол подвергается серьезному механическому воздействию. Поэтому к покрытию пола предъявляются очень высокие требования.
Бетон
Самый широко применяемый вариант – заливка бетоном. Для бетонной стяжки используется бетон высокопрочных марок. Нередко стяжка становится основанием для укладки того или иного декоративного материала. Но в техническом гаражном помещении вполне логично смотрится и просто бетонный пол.

Бетонный пол в гаражеИсточник virm.net
Дерево
Деревянные полы могут быть уложены в гараже в качестве временного экономичного покрытия. Дерево не обладает высокой устойчивостью к истиранию, поэтому быстро теряет первоначальные характеристики. Деревянные доски не только деформируются под тяжестью автомобиля и тяжелого инвентаря, но и впитывают всевозможные автомобильные жидкости, которые нередко проливаются в гараже. Но в малогабаритном гаражном помещении, не предназначенном для ремонтных работ деревянный пол может прослужить достаточно долго – около 5 лет.

Укладка деревянного пола в гаражеИсточник derevyannyy.com
Наливной пол
Наливной пол на цементной основе имеет характеристики, схожие с характеристиками бетонной стяжки. Но наливные смеси более влагостойкие, чем бетон, к тому же они не впитывают грязь. Они вообще очень привлекательны по своим техническим показателям. В качестве минуса можно назвать высокую стоимость такого варианта покрытия. Выглядит наливной пол как мокрый бетон, и автовладельцы, которых раздражает глянцевый блеск пола покрывают его дополнительным декоративным материалом.

Гараж с наливным поломИсточник stroikom.su
Керамогранит
Пол гаража можно выложить специальной технической керамикой с повышенной прочностью и антискользящей поверхностью. Этот вариант достаточно практичен. При этом он обеспечивает привлекательный дизайн помещению, так как существует в различных цветовых вариантах. Но керамическое покрытие может растрескиваться и раскалываться, а швы между плитками впитывает горюче-смазочные материалы.
Выбор напольного покрытия осуществляется с учетом многих факторов, таких как размер выделенного на обустройство гаража бюджета, объем работ, которые будут выполняться в гараже, эстетические предпочтения автовладельца и т. д. Специалисты же рекомендуют использовать наливные материалы, так как они больше других соответствуют эксплуатационным особенностям гаражного помещения.

Керамогранитный пол в гаражеИсточник perspektiva24.com
Все виды полок и стеллажей
Для грамотного распределения и использования свободного пространства даже самого компактного гаражного помещения важно использовать разные системы хранения
Новостной сайт
- Особенности монтажа электропроводки в домах из СИП панелей
- Как выбрать чугунную ванну

Самыми экономными и эффективными вариантами выступают следующие, причем их можно сделать самостоятельно из подручных материалов:
- полки, настенные и напольные, закрытые и открытые;
- стеллажи разнообразных конструкций и конфигураций.

В качестве бюджетного варианта можно использовать домашнюю мебель, но лучше применить ее как материал для самостоятельного изготовления систем хранения.
Материалы для отделки
После составления несложного проекта, необходимо определиться с отделочными материалами для стен, пола и потолка. При этом в первую очередь учитываются технические характеристики различных вариантов отделки
Но и эстетичность тоже принимается во внимание, так как дизайн гаража имеет не последнее значение в его обустройстве
Главные требования к материалам для внутренней отделки гаража:
- негорючесть;
- нетоксичность;
- устойчивость к механическому воздействию;
- устойчивость к воздействию химических веществ;
- устойчивость к загрязнениям;
- неприхотливость в уходе.
Штукатурка
Наиболее экономичный вариант отделки стен, это оштукатуривание. Качественно нанесенная штукатурка прослужит много лет. Основное преимущество данного варианта – это абсолютная пожарная безопасность. Из минусов можно отметить длительность процесса оштукатуривания и необходимость привлекать к процессу квалифицированных специалистов.
Гараж с оштукатуренными стенамиИсточник eastcoastrapist.com
Краска
Стены под покраску нужно прогрунтовать и пошпаклевать. В результате должна получиться ровная поверхность с хорошей адгезией. Часто для внутренней отделки гаража используют фасадные водоэмульсионные краски. Они не поддаются воздействию влаги и обладают высокой устойчивостью к истиранию.
Нередко используются и акриловые краски, которые подходят для работы с любым основанием. Такой краской можно покрыть оштукатуренную стену, стену из кирпича или, например, бетона. Это самый экономичный вариант окрашивания для гаражных стен.
Специалисты рекомендуют стены из кирпича окрашивать фасадными красками глубокого проникновения. Они равномерно заполняют поры керамической стены и бетонные швы. В результате получается надежное защитно-декоративное покрытие.
Если стена бетонная, лучше задекорировать ее акриловой краской на основе органических смол. В этом случае помещение не утратит способность самовентилироваться, и в гараже всегда будет оптимальный уровень влажности.
Покраска стен в гаражеИсточник eurodomik.ru
Кафель
Керамическая плитка применяется для облицовки стен в любых помещениях с высокой влажностью и перепадами температуры. Это надежный и долговечный материал, легко поддающийся чистке и не требующий сложного ухода. Тем менее, кафельная отделка редко применяется в оформлении гаражей из-за довольно высокой стоимости.
Кафель на стенах гаражаИсточник stroyfora.ru
Вагонка
Гараж можно отделать деревянной или пластиковой вагонкой. Деревянная отличается повышенной возгораемостью, но, несмотря на это, многие автолюбители выбирают для своих гаражей именно такой вариант облицовки. Здесь огромную роль играет эстетическая привлекательность деревянных панелей, которые делают техническое помещение более комфортным для длительного пребывания.
Кроме эстетики деревянная вагонка отличается удобством в эксплуатации. На нее легко можно навесит полку или вешалку. Поэтому количество гаражей, оформленных данным способом не уменьшается. Хорошо, что в настоящее время риск возгорания деревянной вагонки в гараже можно (и нужно) снизить при помощи специальных пропиток.
Деревянная вагонка в отделке гаражаИсточник les66.ru
Пластиковые панели, несмотря на то, что монтируются так же, как и деревянные, представляют собой принципиально иной вариант отделки. Пластик гораздо менее горючий материал. Но у него другой существенный недостаток – он очень хрупкий. В гараже с такой отделкой нельзя рассчитывать на настенное оборудование, все стеллажи должны быть только напольными. К тому же пластиковую вагонку очень легко повредить механически.
Пластиковая вагонка в отделке гаражаИсточник stroypomochnik.ru
Сайдинг
Монтируется сайдинг на обрешетку, так же, как и вагонка. Для внутренней отделки гаража используется пластиковый или металлический сайдинг. Металлический лучше по нескольким показателям – он пажаробезопасен, невосприимчив к агрессивным чистящим составам, устойчив к перепадам температур и достаточно прочен.
Отделка гаража сайдингомИсточник 24segodnya.ru
Функции отделки гаража внутри – дизайн и защита стен. Выбирая вариант материал для внутреннего оформления нужно помнить о том, что он должна быть долговечным, надежным и эстетичным.
Вариант внутреннего оформления гаражаИсточник amukraine.org
Отделка потолка
Потолок часто отделывают тем же материалом, что и стены. Его можно покрасить, покрыть штукатуркой, обшить сайдингом или вагонкой. А можно применить другой вид материала и сделать потолок из гипсокартона или профлиста.
Потолок гаража отделанный вагонкойИсточник drive2.ru
Особенности гаража
Основным назначением здания становится предоставление места для размещения машины и необходимых инструментов. Но если гараж располагает чуть большей площадью, то в него стараются поместить еще и небольшой набор мебели, а также вывозимую с дачи технику, шины, ожидающие смены сезона, лыжи, санки, коньки и прочие жизненно необходимые вещи.

Для обеспечения возможности работать в гараже в зимний период, необходимо предусмотреть систему отопления и вентиляции. И все это нужно разместить на достаточно ограниченном пространстве.

Чтобы потом не мучиться с неудобной планировкой гаража, специалисты советуют предварительно начертить план будущего расположения вещей на бумаге и не забывать по максимуму использовать стены.

Вертикальные перегородки при правильном использовании готовы предложить огромное поле для размещения всего, что только может понадобиться владельцу гаража.






Внутреннее обустройство гаража
Идей для обустройства гаража может быть много, но значительно сузить круг возможных вариантов можно исходя из требований к помещению. Помочь в деле расположения нужных и не очень вещей помогут дополнительные полки и стеллажи.
В помещениях с маленькой площадью главные советы по обустройству касаются стен. Установив различные подвесные системы, полки или же подвесные шкафчики, можно расширить площадь рабочей зоны. Их можно расположить под одной стенкой или в форме буквы “П”, если позволяет площадь.
Схема вентиляции.
Это хороший вариант для тех, кто собирается гараж сделать по совместительству и мастерской. Также шкафчики помогут избежать попадания влаги, распределить по предметам хранения и поддерживать порядок в гараже.
Вместо стеллажей под инструменты лучше сделать подвесной стенд. На них можно крепить даже транспортные средства по типу велосипеда, а также колеса и другие предметы, требующие особого способа хранения.
Если гараж будет или уже имеет большую площадь, можно задуматься о зоне отдыха. Функциональные зоны ограждаются различными дизайнерскими приемами в виде шторки или перегородками. В зоне отдыха можно поставить приставку, столик, организовать место для посиделок с друзьями.
Возможна организация санузла и, допустим, установка газового узла, что часто используется в случаях частного дома.
Важным пунктом во внутреннем обустройстве гаража считается отопление. По возможности рекомендуется установить приобретенную или самостоятельно сделанную печь. В зимнее время она поможет прогреть помещение для работы и поспособствует устранению влаги.
Напольное покрытие
Пол в гараже несет огромную нагрузку. Кроме самого автомобиля он должен выдерживать тяжеловесное оборудование. При этом в процессе ремонтных работ пол подвергается серьезному механическому воздействию. Поэтому к покрытию пола предъявляются очень высокие требования.
Самый широко применяемый вариант – заливка бетоном. Для бетонной стяжки используется бетон высокопрочных марок. Нередко стяжка становится основанием для укладки того или иного декоративного материала. Но в техническом гаражном помещении вполне логично смотрится и просто бетонный пол.

Деревянные полы могут быть уложены в гараже в качестве временного экономичного покрытия. Дерево не обладает высокой устойчивостью к истиранию, поэтому быстро теряет первоначальные характеристики. Деревянные доски не только деформируются под тяжестью автомобиля и тяжелого инвентаря, но и впитывают всевозможные автомобильные жидкости, которые нередко проливаются в гараже. Но в малогабаритном гаражном помещении, не предназначенном для ремонтных работ деревянный пол может прослужить достаточно долго – около 5 лет.

Укладка деревянного пола в гараже
Наливной пол
Наливной пол на цементной основе имеет характеристики, схожие с характеристиками бетонной стяжки. Но наливные смеси более влагостойкие, чем бетон, к тому же они не впитывают грязь. Они вообще очень привлекательны по своим техническим показателям. В качестве минуса можно назвать высокую стоимость такого варианта покрытия. Выглядит наливной пол как мокрый бетон, и автовладельцы, которых раздражает глянцевый блеск пола покрывают его дополнительным декоративным материалом.

Гараж с наливным полом
Керамогранит
Пол гаража можно выложить специальной технической керамикой с повышенной прочностью и антискользящей поверхностью. Этот вариант достаточно практичен. При этом он обеспечивает привлекательный дизайн помещению, так как существует в различных цветовых вариантах. Но керамическое покрытие может растрескиваться и раскалываться, а швы между плитками впитывает горюче-смазочные материалы.
Выбор напольного покрытия осуществляется с учетом многих факторов, таких как размер выделенного на обустройство гаража бюджета, объем работ, которые будут выполняться в гараже, эстетические предпочтения автовладельца и т. д. Специалисты же рекомендуют использовать наливные материалы, так как они больше других соответствуют эксплуатационным особенностям гаражного помещения.

Керамогранитный пол в гараже На нашем сайте Вы можете найти контакты строительных компаний, которые предлагают услугу разработки проектов и монтажа гаражей и прочих малых форм под ключ. Напрямую пообщаться с представителями можно посетив выставку домов Малоэтажная Страна
.
Особую функцию в гараже выполняют ворота. Необходимо выбрать оптимальный вариант ворот, который будет полностью соответствовать техническим и эстетическим требованиям хозяина.
Самый простой по конструкции вид гаражных ворот. Распашные полотна изготавливают из прочного металла и укрепляют надежной рамой. В одной из створок обычно делают дверной проем, чтобы можно было зайти в гараж или выйти из него не открывая ворота полностью.

Гараж с распашными воротами
Откатной механизм очень удобен. При нем полотно ворот сдвигается в сторону вдоль забора или стены прилегающего к гаражу здания. Такой вариант обычно применяется при обустройстве гаражных построек, расположенных у въезда на участок.

Гараж с откатными воротами
Представляют собой одностворчатые конструкции, которые поднимаются вверх под потолок гаража. Хороший вариант для небольших гаражных помещений. Но линию подъема таких ворот нужно учитывать, продумывая обустройство гаража внутри, чтобы они не задевали светильники или отделку потолка.

Гараж с подъемными воротами
Секционные
Работают по принципу подъемных, но при открытии делятся по секциям и складываются под потолком. Движутся по направляющим при помощи пружинного механизма.

Секционные ворота гаража
Удобный и недорогой вариант ворот, которые в открытом положении складываются в короб над проемом. Устанавливают роллеты в тех гаражах, которые находятся на охраняемой территории, так как данный вид ворот легко поддается взлому.

Как выполнить подготовительные этапы
Арендовать помещение, чтобы организовать в нем культурный отдых достаточно дорого, а сделать свой гаражный бар с бильярдом может быть неплохим вариантом, который поможет решить часть проблем по нехватке средств. Прежде чем открыть свое кафе, гараж следует тщательно подготовить. Определить круг вопросов, которые могут возникнуть в период организации.
Дать на них ответы, что сократит время на открытие и поможет быстрее окупить затраты:
- Определиться с целевой аудиторией, для которой обустраивается заведение. Будет это гараж с бильярдом и баром или обычное кафе, куда человек сможет заглянуть, чтобы перекусить и отдохнуть с друзьями.
- Если намечено открытие клуба, то необходимо определиться, какой будет тип входа. Он может быть закрытым, рассчитанным на определенный круг людей, или открытым, а возможно это будет просто ночной клуб в гараже.
- Обязательно следует выработать концепцию, иначе не удастся заведение сделать интересным и привлекательным. Быстрее поможет привлечь посетителей своя «фишка», любая нестандартная идея, которая будет заложена в оформлении зала, меню или в программе выступлений артистов, при их приглашении.
Затем стоит подумать, какие услуги способны вызвать интерес:
- Будет ли это кухня с фирменными блюдами.
- Предложение проводить здесь тематические или шоу-программы.
- Использование световых и пиротехнических номеров, с соблюдением техники безопасности.
- Можно организовать встречи с известными или молодыми исполнителями.
- Очень тщательно необходимо продумать дизайн помещения. Для этого стоит найти профессионального архитектора-дизайнера, который способен правильно обставить гараж.
- Одно дело организовать в гараже кафе, где будет определенная, спокойная атмосфера, а другое: гараж — ночной клуб или бар, где предпочитают смотреть, и достаточно громко, трансляции хоккейных или футбольных матчей.
Создание полезных приспособлений для гаража своими руками
Чтобы осуществлять ремонтные и сервисные работы, потребуется соорудить смотровую яму в гараже своими руками, размеры которой будут соответствовать габаритам авто, а также верстак для удобной работы, плюс снабдить помещение станками.
Основной набор инструментов и материалов для создания самодельного верстака для гаража включает:
- доски и деревянные бруски;
- крепежные элементы и стяжки;
- рубанок и другие инструменты для обработки дерева;
- лакирующий и столярный клеевые составы;
- наждачную бумагу и олифу.

Пример размещения в гараже полезных приспособлений: 1 — верстак с ручными станками, 2 — стеллажи и шкафы, 3 — стол для проведения различных ремонтных работ, 4 — полка для хранения шин, 5 — смотровая яма
Технология изготовления верстака в гараже своими руками: фото, чертежи
Верстак состоит из столешницы и подстолья, а также нескольких устройств зажимного типа. Высоту верстака в гараже следует подбирать с учетом собственного роста. Можно взять в качестве ориентира высоту кухонного стола в доме, за которым удобно работать. Обязательно составьте для создания верстака для гаража своими руками чертежи.
Обустройство гаража: как сделать верстак в помещении:
| Этап работы | Детали, размер в см | Тип крепления |
| Сборка столешницы | 20 досок (5х10х200) с пазами 2,5х2,5 в 5-ом и 16-ом элементе (шаг 25) | Клеевой состав металлические стяжки |
| Сушка | — | — |
| Изготовление ножек (4 шт.) | Брусок (10х10х80) с пазами под кронштейны на передних опорах | Кронштейны |
| Сборка основания подстолья | Рамы (2 шт.) из досок (5х10) | Соединение «в шип» на глубину 2,5 см и болты |
| Фиксация боковых и задних опорных стенок | Плиты ДСП (толщина 10 мм) | Шурупы |
| Фиксация столешницы к верхней раме | — | Болты |
Заключительная обработка предполагает пропитку готового изделия олифой и вскрытие лаком.
Рекомендации по созданию смотровой ямы в гараже своими руками
Не существует определенных размеров смотровой ямы в гараже. В качестве основы берутся габариты автомобиля.
Как сделать смотровую яму в гараж с оптимальными параметрами:
- Ширина подбирается с тем расчетом, чтобы внутри было достаточно места для работы. Размер ограничен расстоянием, на которое посажены колеса авто. Каждое колесо нуждается в небольшой площади для выполнения маневров. Средняя ширина ямы составляет 0,8 м.
- Длина ямы ограничивается длиной машины. К этому показателю следует добавить 1 м.
- Для расчета глубины используется рост владельца гаража. К нему прибавляется еще 10-15 см.
Как правильно сделать смотровую яму в гараж с использованием разных материалов:
| Материал | Толщина стенок, см |
| Керамический кирпич | 12-25 |
| Бетон | 15 |
| Строительные блоки | 20 |
Котлован вырывается с учетом оптимальной ширины ямы, материала, выбранного для стенок, а также толщины гидроизоляционного слоя. Этапы создания ямы:
- разметка;
- строительство котлована;
- обустройство котлована;
- строительство стен;
- прокладка освещения.
Для гидроизоляции стен применяется специализированная гидрофобная пропитка.

Схема обустройства смотровой ямы: 1 — стенки из пеноблоков, 2 — гидроизоляция, 3 — бутовая кладка. 4 — уголок размером 50х50х4 мм
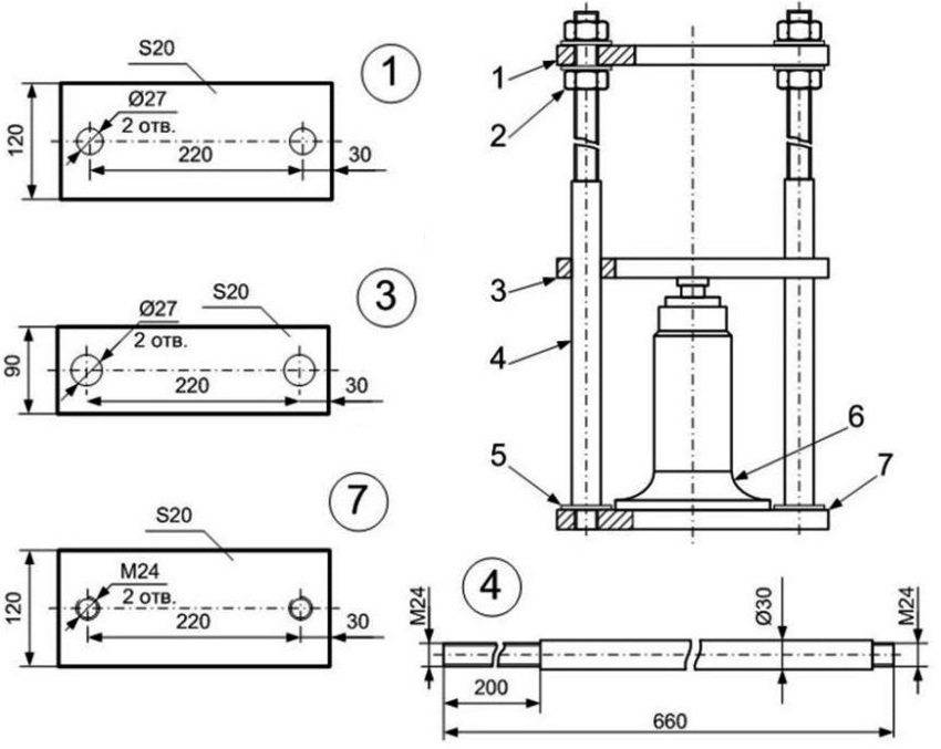
Изготовление пресса для гаража своими руками
Для создания пресса следует изготовить из 4 отрезков металлических труб каркас размером 178х80 см. Эти элементы соединяются методом сварки. В работе рекомендуется руководствоваться чертежами, заранее подобранными или составленными. После этого нужно установить:
- фиксатор;
- съемный упор;
- бутылочный домкрат (гидравлический).
Можно использовать для рассмотрения подробной технологии создания полезных приспособлений для гаража своими руками видео-материалы. Такие наглядные рекомендации помогают сориентироваться в размерах, освоить пошаговые инструкции и представить, какой внешний вид должна иметь готовая конструкция.

Схема изготовления гидравлического пресса: 1 — верхняя силовая платформа, 2 — гайки, 3 — нижняя платформа, 4 — шпильки диаметром 30 мм, 5 — нижняя резьба шпилек, 6 — гидравлический домкрат бутылочного типа; 7 — основание толщиной 20 мм
Обустройство гаража можно сделать собственными руками. На этом список полезных приспособлений не заканчивается. Его всегда можно дополнить любыми интересными идеями. Главное, чтобы гараж полностью соответствовал личным требованиям в отношении комфорта и удобства.
https://youtube.com/watch?v=D1BKvgCBg8Q
Обустройство гаража: электроосвещение
В помещении гаража непременно должны иметься:
- Распределительный щит.
- Осветительные приборы.
- Розетки.
- Заземление.
Монтаж всех составляющих должен проводиться по предварительно составленной схеме. Места положения розеток и выключателей, а также их количество досконально продумывается, чтобы ими удобно было пользоваться без привлечения удлинителей и нужды идти через весь гараж для включения. Кроме общего потолочного освещения потребуется организовать местную направленную подсветку верстака. В многоуровневых гаражах освещение обустраивается на каждом из них.
люминисентные лампы в гараже
Кабель можно проложить открытым и скрытым способом. В последнее время первый вариант не актуален. Проводку прячут в штробы (сделанные в стенах канавки). Все электрификационные работы выполняются согласно действующим требованиям. Работу по укладке проводки стоит доверить профессионалу во избежание в последующем проблем с замыканиями и возгораниями.
Наиболее подходящими для обустройства современного гаража можно считать секционные конструкции
Данный конструкционный элемент важен в обустройстве гаража не только с точки зрения удобства въезда, но и в плане сохранения тепла, а также защиты от нежеланных проникновений.
Ворота для гаража могут иметь различные конструкционные особенности. Наиболее дешевым решением являются обычные распашные модели. У откатных ворот створки работают идентично дверцам шкафа-купе. Подъемно-поворотные виды открываются посредством подъема полотна створки к гаражному потолку.
Наиболее подходящими для обустройства современного гаража можно считать секционные конструкции, в которых возможно преломление створок по типу гармошки, и ролетные варианты из алюминия, которые напоминают рольставни и функционируют по тому же принципу.
ворота с матовым стеклянным покрытием
Основные принципы и правила
Обустройство гаража должно в первую очередь быть направлено на функциональность
У большинства автовладельцев гараж одновременно выполняет несколько функций:
- является местом складирования того, что не нужно или не поместилось в квартире;
- мастерской;
- местом отдыха от повседневных забот.
Поэтому в гараже обязательно должны быть три функциональные зоны:
- для автомобиля;
- мини-склада;
- инструментов.
Если владелец планирует изредка ночевать или некоторое время проживать в гараже, потребуется спальное место. Практичные автолюбители обязательно включают его в перечень необходимых функциональных зон и впоследствии неоднократно благодарят себя за предусмотрительность. Комфортное спальное место можно соорудить даже в самом маленьком гараже. О способах реализации этой задачи рассказано ниже.
Планируя местоположение и размеры функциональных зон, рекомендуется ориентироваться на проверенные практикой правила.
- Расстояние от автомобиля до любого элемента обустройства (полок, стеллажей, ящиков, столов) должно быть не менее 1 метра. В противном случае обслуживание машины будет затруднено.
- При строительстве смотровой ямы желательно заложить в бетон тонкую металлическую трубу, для того чтобы впоследствии провести в ней провод и установить на стене розетку.
- Если не подведён водопровод, предусматривают место для умывальника и хранения запасов воды.
- Электрочайник и небольшая электроплита выручат в тех ситуациях, когда придётся надолго задержаться в гараже.
- Электросчётчик желательно спрятать в металлический щиток, что исключит повреждение прибора случайным ударом.
- В целях экономии места рекомендуется устанавливать высокие стеллажи или делать систему навесных полок от пола до потолка. Для того чтобы было удобно доставать вещи, покупают стремянку.
- За пределами гаража можно выкопать септик и подвести к нему смонтированную в помещении систему стоков. Это поможет избавиться от луж при мытье машины.
- На этапе планирования замеряют размеры крупногабаритного оборудования и определяются с геометрическими параметрами полок, стеллажей и проходов.
- Необходимо составить чертёж или набросать эскиз обустройства гаража.
Подсказка по обустройству маленького гаража
Один из наиболее удобных вариантов обустройства небольшого гаража заключается в следующем:
- машину ставят так, чтобы передний бампер находился на расстоянии 30-40 см от задней стенки помещения;
- от левого и правого борта автомобиля отступают в сторону углов помещения по 50 см и отмечают эти точки на стене;
- с помощью пузырькового уровня проводят через них вертикальные линии от пола до потолка.
Так определяют наиболее удобную ширину стеллажей для небольших по размеру гаражей. Эти конструкции (стеллажи) можно соединить несколькими полками, установленными под потолком помещения. Таким образом получают компактную, но весьма вместительную систему хранения вещей и инструментов.
Внутренняя отделка
Пластиковые панели — один из самых подходящих вариантов внутренней отделки гаража
В гараже находятся легковоспламеняющиеся жидкости, часто появляются грязь и пятна от горюче-смазочных материалов. Выполняются сварочные и иные работы, при которых образуются искры.
В связи с этим материалы для внутренней отделки должны отвечать ряду требований:
- Быть влагостойкими.
- Легкомоющимися.
- Прочными.
- Огнестойкими.
- Устойчивыми к воздействию агрессивных сред.
Всеми этими свойствами в той или иной степени обладают:
- керамогранит или прочный кафель;
- штукатурка;
- вагонка;
- профлист.
Составление плана обустройства гаража в частном доме
Гараж является местом, которое имеет прямое предназначение, а именно: осмотр и ремонт автомобиля. Исходя из этого, можно представить, каким должен быть внутренний дизайн данной постройки. Для того чтобы упорядочить работу, все этапы оформления интерьера необходимо указать в плане обустройства.
Как правило, владельцы гаражей проводят в них от 1 часа и более в день. Поэтому внутреннее оформление должно быть не только простым и функциональным, но и достаточно комфортным.

Первый и главный этап в создание гаража – это составление детального эскиза
Удобство работы внутри помещения – обязательное правило, которого стоит придерживаться при составлении плана обустройства гаража. Фото наружных и внутренних дизайнов различных конструкций позволят определить необходимость того или иного решения в конкретной ситуации. План будущей постройки состоит из следующих этапов:
- создания эскиза;
- определения места для авто;
- подбора отделочного материала;
- выбора типа ворот;
- составления сметы.

После проработки эскиза и определения места для гаража необходимо подобрать отделочный материал
Рисунок будущего автогаража должен быть выполнен в трехмерном формате и содержать все необходимые геометрические показатели конструкции. При выборе места для авто необходимо учесть не только габариты самой машины, но и расположение стеллажей, а также других предметов мебели. Подход к различным частям и системам автомобиля должен быть свободным. Особенно это правило касается небольших конструкций, в частности железных. Купить гараж такого типа можно готовым или в разобранном виде.
Далее потребуется определиться с тем, какие отделочные материалы будут использованы после возведения конструкции. Они должны соответствовать своему назначению и иметь хорошую износостойкость
Если для вас важны не только технические характеристики, но и внешний вид отделки, то тогда рекомендуется обратить внимание на картинки гаражей

При выборе типа ворот необходимо учитывать способ открывания и размер свободного пространства перед гаражом
При выборе типа ворот необходимо ориентироваться на несколько факторов. К ним относятся следующие: количество свободного пространства перед постройкой, способ открывания (ручной или автоматический) и стоимость. После этого составляется смета финансовых затрат на материалы и оборудование.


































